Einfachfalz stumpf: Profil E24

Eckzarge mit Schattennut und Übergreifung,
für stumpfeinschlagendes Holztürblatt

Standard Ausführung

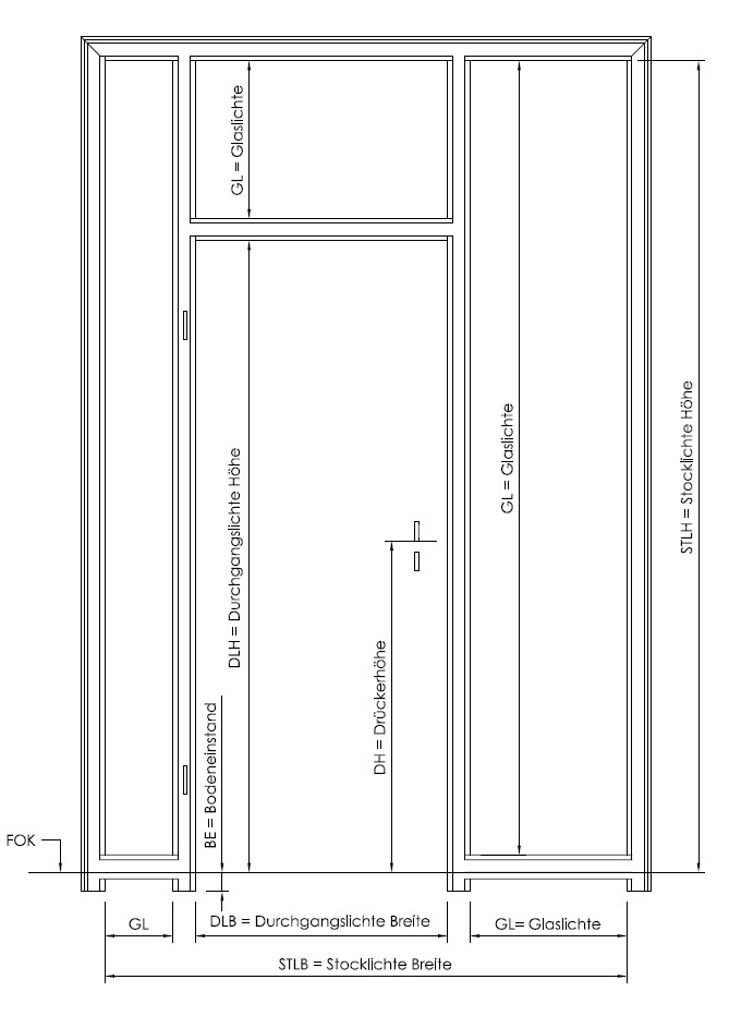
Falz 15/45 mm (>=45)
Spiegelbreite 40 mm (>=30)
Leibungsspiegel 40 mm (>=40)
Schattennut 11/10 mm (>=11)
Übergreifung 9 mm (>=9)
Profilbreite 105 - 500 mm  

Einbauarten

Mauerwerk (MWK), GKT-Ständerwand (GKT), Betonschalung (SCH)
Holzriegelwand (HRW)

Materialausführung

Stahlblech 1,5 mm verzinkt, Stahlblech 2 mm verzinkt,
Edelstahl 1,5 mm V2A geschliffen K220, Edelstahl 1,5 mm V4A gebürstet.

Brandschutz

FH30 Kennzeichnung bei: 
Montage in Mauerwerk, Trockenbauwand, Holzriegelwand, Betonschalung Material aus Stahlblech verzinkt, Nennblechdicke 1,5 mm oder 2 mm. 

Anmerkung: die Brandschutzkennzeichnung, sowie die hierfür technische Ausführung, ist immer vom Türblattlieferanten abhängig und zu erbringen!

Norm Ausführung

ÖNORM, DIN-Norm

wählbare Beschläge

Anuba M10/1, Anuba 3-DIM Doppelmuffen    Spiegelbreite min. 30 mm
Simons V8600, Simons VX7512-3D Spiegelbreite min. 30 mm
Simons TE340-3D Spiegelbreite min. 40 mm
Simons TE540-3D Spiegelbreite min. 42 mm

Glaslichten

Oberlichte, Seitenlichte, 2-fache Seitenlichte, Ober- und Seitenlichte,
Ober- und 2-fache Seitenlichte.

Sonderausstattungen

Aufnahme für obenliegenden Türschließer, integrierten Türschließer,
E-Öffner, Kabelübergang, Reedkontakt, Magnetfalle,
Winkelanschlagschiene 30/30/3 mm, APTK Anschlagschiene schraubbar mit Gummidichtung
Einbruchhemmung WK II, WK III, RC1, RC2, RC3
Bleiauskleidung 0,5 – 4 mm

Ausschreibungstext

Eckzarge mit Schattennut und Übergreifung, Nennblechdicke ..................., für Einbau in ....................., Profil 3-seitig umlaufend, Falz 15/........ mm für stumpfeinschlagendes Holztürblatt, Spiegelbreite ........... mm, inkl. ........ mm Bodeneinstand, Gummidichtung, je .... Stk. Bandaufnahmen ............................, ohne Brandschutzanforderung

Sonstiges

auch mit anderen Profilen kombinierbar
zum Beispiel einseitig ohne Schattennut

» Nach oben