Einfachfalz überfälzt: Profil E16

Eckzarge mit gequetschter Schattennut,
für überfälztes Holztürblatt, oder Ganzglastürblatt.

Standard Ausführung

Falz 15/27 mm (>=27)
Spiegelbreite 40 mm   (>=30)
Leibungsspiegel 50 mm (>=40)
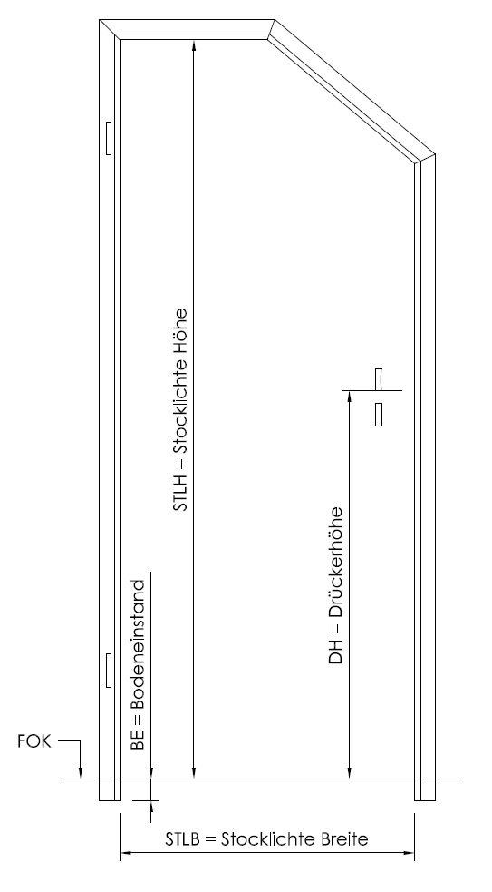
Profilbreite 67 - 500 mm  
   

Einbauarten

Mauerwerk (MWK), GKT-Ständerwand (GKT), Betonschalung (SCH).

Materialausführung

Stahlblech 1,5 mm verzinkt,
Edelstahl 1,5 mm V2A geschliffen K220, Edelstahl 1,5 mm V4A gebürstet.

Brandschutz

FH30 Kennzeichnung bei:
Montage in Mauerwerk, Trockenbauwand, Holzriegelwand, Betonschalung
Material aus Stahlblech verzinkt, Nennblechdicke 1,5 mm oder 2 mm.
Anmerkung: die Brandschutzkennzeichnung, sowie die hierfür technische Ausführung, ist immer vom Türblattlieferanten abhängig und zu erbringen!

Norm Ausführung

ÖNORM, DIN-Norm

wählbare Beschläge

Anuba M10/1, Anuba 3-DIM Doppelmuffen   Spiegelbreite min. 30 mm
Simons V8600 (DIN Norm), Simons VX7512-3D Spiegelbreite min. 30 mm

Glaslichten

Oberlichte, Seitenlichte, 2-fache Seitenlichte, Ober- und Seitenlichte,
Ober- und 2-fache Seitenlichte.

Sonderausstattungen

Aufnahme für obenliegenden Türschließer, integrierten Türschließer,
E-Öffner, Kabelübergang, Reedkontakt, Magnetfalle,
Winkelanschlagschiene 30/30/3 mm, APTK Anschlagschiene schraubbar mit Gummidichtung
Einbruchhemmung WK II, WK III, RC1, RC2, RC3
Bleiauskleidung 0,5 – 4 mm

Ausschreibungstext

Eckzarge mit gequetschter Schattennut, Nennblechdicke ..................., für Einbau in ....................., Profil 3-seitig umlaufend, Falz 15/........ mm für überfälztes Holztürblatt (oder Ganzglastürblatt), Spiegelbreite ........... mm, inkl. ........ mm Bodeneinstand, Gummidichtung, je .... Stk. Bandaufnahmen ............................, ohne Brandschutzanforderung

Sonstiges

Profil auch mit anderen Profilen kombinierbar
zum Beispiel einseitig ohne Schattennut

» Nach oben